产品描述
一、产品概述
HA009—4X—10/16Q型型复合式高速进排气阀(下称排 气阀)是一种供输水管道专用的进排气控制装置,广泛应用于 各供、给水领域管网系统。复合式是指一个腔内同时具备大孔 或小孔进、排气功能的阀门。
主要特点:
1 )结构简单而具备大小排气孔自动进排气功能,属于基本免 修产品。
2) 排气量大,排气速度可达一马赫。(正常大气压下340m/s)
3) 排气压差(空气关闭压力)大于0.2MPa,在任何压差下排 气不自闭。
4) 正常输水运行时,由小排气孔自动排净管内析出的压力气囊, 提高高山输水效率。
5) 排完管内气后,受压力水冲击时能瞬时闭阀不泄水。
二、技术参数

三、工作原理
排气阀安装在管道纵向高点管顶以上,当管内有空气时首先聚集在排气阀内。
1) 空管注水时:当管内为空气时,浮体和升降罩只受重力作用,无浮力,因此两者就下落到浮体罩底部的缓冲垫上。管内 空气在水压作用下,通过浮体罩的窗口和阀盖的排气孔高速排向大气。
2) 排气后自闭不泄水:当管内空气排出后,管内的水从阀体下部进入阀腔,此时浮体和升降罩迅速上浮,升降罩顶住阀孔 密封处,排气阀自动关闭停止排气,并不泄水。
3) 正常运作时小孔排气:因管内压力波动,溶解在水中的空气会逐渐析出,并聚积在管顶的排气阀腔中。在排气阀中形成 有压气囊,气囊增大,阀内水面就下降,当水面降至浮力小于浮体自重时,浮体因重力而下落,将顶部的小排气口打开,小孔 自动排气。当气体排空,气囊消失水面上升,浮体又升起,再将小排气口关闭,于是形成间断性小孔自动排气。
4) 自动进气破坏真空:当管内产生真空时,浮体和升降罩同时快速下落,大量空气补入,破坏管内真空,保证管网安全。
四、主要性能特点
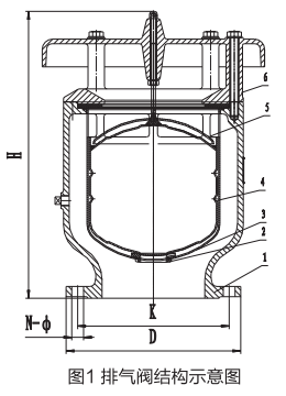
1 )结构简单而具备大小排气孔自动进排气功能(见图1 );性能可靠基本是免修理产品。
2) 排气量大,排气速度可达一马赫。
3) 排气压差(空气关闭压力)大于0.2MPa,在任何压差下排气不自闭,优于国内外排气阀。
4) 正常用运行时能自动排净压力气囊中的气体。
5) 排完气后,受水冲击时能瞬时闭阀不排水。

五、安装与调试

